ZCQ100-65-200防爆不銹鋼自吸磁力泵 |
||||||||||||||||||||||||||||||||||||||||||||||||||||||||||||||||||||||||||
|
|
||||||||||||||||||||||||||||||||||||||||||||||||||||||||||||||||||||||||||
![]()
產品介紹 ZCQ100-65-200防爆不銹鋼自吸磁力泵(以下簡稱自吸泵)是根據眾用戶的要求,在CQ型磁力泵的基礎上吸取國外技術,并經過工程技術人員反復研究試驗而成功的新產品。 ZCQ100-65-200防爆不銹鋼自吸磁力泵以靜密封取代動密封,使泵的過流部件處于完全密封狀態,徹底解決了其它泵機械密封無法避免的跑、冒、滴、漏之弊病,泵體及過流部件的材料均采用了耐腐蝕的不銹鋼、鋼玉陶瓷、四氟石墨等材料制造,既有CQ型磁力驅動泵的功能,又集自吸于一身,不需底閥和引灌水,自吸高度4米。 ZCQ100-65-200防爆不銹鋼自吸磁力泵結構緊湊,外形美觀,體積小,噪音低,運行可靠,使用維修方便,可廣泛用于石油、化工、制藥、電鍍、印染、食品、科研等單位抽送酸、堿、油類及稀有貴重液、毒液、揮發性液體,以及循環水設備配套,特別是易漏、易燃、易爆液體的抽送。 因此,它是有廣泛的用途,我們真誠地向用戶推薦這種ZCQ100-65-200防爆不銹鋼自吸磁力泵。 型號意義: ![]()
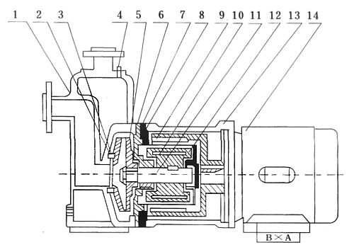
結構圖: ![]()
工作原理: ZCQ100-65-200防爆不銹鋼自吸磁力泵采用外混式軸向回水泵體結構,泵體由吸液室、儲液室、蝸殼、回流孔、氣液分離室等部份組成,結構見圖。泵啟動后,在離心力的作用下,吸水室中的剩余液與進液管路中的空氣被葉輪攪拌成氣水混合物,混合物經蝸殼進入氣液分離室,隨著速度減慢,導致氣水分離,空氣由泵出液口排出,液經回水孔返回泵內,經過多次循環,進液管道中的空氣被排凈,使泵內形成一定的真空度,達到自吸的作用。 裝置實例: ![]() 自吸泵的安裝 一、開箱后檢查泵銘牌,校對自吸泵產品主要參數是否與使用要求相符。 二、自吸泵應水平安裝,泵體不得承受管路重量。 三、泵與管路應保持良好的密封。 自吸泵的使用 一、泵使用前應進行檢查、電機風葉轉動要靈活、無卡住及異聲現象,各緊固件要牢固。 二、擰開泵上方的加水螺栓,加入儲液水不少于泵體容積的三分之二,旋緊螺栓。 三、接上電源試轉一下,從電機端看,運轉是否與泵轉向標記一致。 四、泵停止工作前,先關閉排出閥門,再關閉電源,最后關閉吸入管閥門。 自吸泵使用應注意事項 1.因自吸泵軸承的冷卻和潤滑是靠被輸送的介質,所以絕對禁止空運轉,同時避免在工作中途停電后再啟動時所造成時空載運轉。 2.被輸送介質中,若含有固體顆粒,泵入口要加過濾網:如含有鐵磁質微粒,需加磁性過濾器。 3.泵在使用中環境溫度應小于40℃,電機溫升不得超過75℃。 4.被輸送的介質及其溫度應在泵材允許的范圍內。金屬泵的使用溫度<100℃,被輸送的介質比重≤1.3;介質比重<1.3時,將影響技術性能。 5.對于輸送液為易沉淀結晶的介質,使用后應及時清洗,排凈泵內積液。 6.ZCQ100-65-200防爆不銹鋼自吸磁力泵運行500小時后,應拆檢軸承和端面動環的磨損情況,若軸承和軸套的間隙大于0.5~1mm,葉輪軸向竄動1.5~2mm時,應更換軸承和軸向動環。 因產品生產批次、型號不同,產品圖片及安裝尺寸僅供參考,詳情可聯系我們的銷售人員了解更多ZCQ100-65-200防爆不銹鋼自吸磁力泵相關信息!
|
||||||||||||||||||||||||||||||||||||||||||||||||||||||||||||||||||||||||||






















